Оглавление: Схема расположения мест сборки ⬇ Сборочная схема впускного…⬇ Сборочная схема распределителя…⬇ Сборочная схема воздушного фильтра ⬇
Схема расположения мест сборки
Детали, отмеченные буквами А и В, на рисунке не представлены.
А - Датчик положения педали акселератора -G79- и датчик 2 положения педали акселератора -G185-, в пространстве для ног на педали акселератора (оба датчика находятся в одном корпусе); В - Лямбда-зонд позади катализатора ОГ -G130-, позади главного катализатора ОГ; 1 - Электрообогреваемый регулирующий вакуумный клапан (клапан POV); 2 - Клапанные форсунки; Клапанная форсунка 1-го цилиндра - N30-; Клапанная форсунка 2-го цилиндра - N31-; Клапанная форсунка 3-го цилиндра - N32-; Клапанная форсунка 4-го цилиндра - N33-; 3 - Датчик давления впускаемого воздуха -G71- и датчик температуры впускаемого воздуха -G42-; 4 - Датчик детонационного сгорания 1 -G61-, сзади на блоке цилиндров; 5 - Электромагнитный клапан 1 для бачка с активированным углем -N80-; 6 - Механизм управления дроссельной заслонкой -J338-, с приводом дроссельной заслонки -G186-, датчиком углового положения дроссельной заслонки -GI87- и датчиком углового положения 2 дроссельной заслонки -G188-; 7 - Датчик частоты вращения вала двигателя -G28-, на задней уплотнительной прокладке фланца коленчатого вала, со стороны впуска; 8 - Датчик Холла -G40-; 9 - Датчик температуры охлаждающей жидкости -G62-, в корпусе регулятора температуры охлаждающей жидкости; 10 - Блок управления "Motronic" -J623- с датчиком атмосферного давления; 11 - Термовыключатель вентилятора для дополнительного охлаждения -F18-, влево при нижней горловине радиатора; 12 - Четырехконтактный штекерный соединитель, для лямбда-зонда -G39- и обогрева лямбда-зонда перед катализатором ОГ, на держателе штекерных соединителей возле стартера; 13 - Лямбда-зонд -G39-, перед катализатором ОГ; 14 - Катушки зажигания с оконечным мощным каскадом.
- Катушка зажигания 1 с оконечным мощным каскадом -N70-
- Катушка зажигания 2 с оконечным мощным каскадом -N127-
- Катушка зажигания 3 с оконечным мощным каскадом -N291 -
- Катушка зажигания 4 с оконечным мощным каскадом -N292-
Сборочная схема впускного трубопровода
(Информация опубликована на веб-сайте: SkodaBook.ru)
1 - Впускной газопровод; 2 - Уплотнительное кольцо, заменить; 3-7 Нм; 4 - Механизм управления дроссельной заслонкой -J338-, в случае замены приспособить блок управления двигателем к механизму управления дроссельной заслонкой; 5 - Шланг для удаления воздуха, от бачка с активированным углем; 6 - Электромагнитный клапан 1 для бачка с активированным углем -N80-, закреплен при помощи держателя на впускном газопроводе; 7 - Шланг для удаления воздуха; 8 - 20 Нм; 9 - Заборный шланг, к усилителю тормозного привода; 10 - Уплотнительное кольцо круглого сечения; 11 - Шланг для охлаждающей жидкости, к подогревателю системы вентиляции картера двигателя; 12 - Пружинный хомутик; 13 - Подогреватель системы вентиляции картера коленчатого вала (картера двигателя), для извлечения и установки следует извлечь впускной газопровод; 14-3 Нм; 15 - Шланг, к вакуумному регулирующему клапану системы вентиляции картера двигателя (к маслоотделителю); 16 - Уплотнительное кольцо круглого сечения, заменить; 17 - Датчик давления впускаемого воздуха -G71 - с датчиком температуры впускаемого воздуха -G42-.
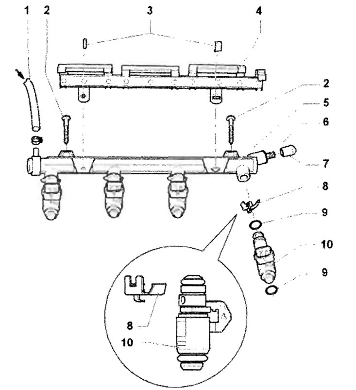
Сборочная схема распределителя топлива с клапанными форсунками
1 - Шланг для подачи топлива, от топливного фильтра, зафиксировать пружинными хомутиками; 2 - 7 Нм; 3 - Удерживающий зажим; 4 - Кабелепровод (Направляющая деталь), вдавлен прижимными зажимами на распределителе топлива; 5 - Распределитель топлива; 6 - Воздушный клапан топливного устройства; 7 - Защитный колпачок, воздушного клапана; 8 - Скоба; 9 - Уплотнительное кольцо круглого сечения, заменить, прежде чем устанавливать, смазать слегка чистым моторным маслом; 10 - Клапанные форсунки -N30.. .N33-, сопротивление: 12,0... 17,0 Ом (при комнатной температуре)
Сборочная схема воздушного фильтра
1 - 3 Нм, Верхняя и нижняя части воздушного фильтра соединены при помощи самонарезающих винтов. При ослаблении или затягивании этих винтов машинным гайковертом возможно повреждение соединяемых деталей. Поэтому разрешается применить машинный гайковерт только в том случае, если выполнены следующие условия: частота вращения гайковерта максим. 200 об/мин., момент затяжки максим. 3 Нм; 2 - Верхняя деталь воздушного фильтра; 3 - Уплотнительное кольцо; 4 - Одноходовой клапан; 5 - Шланг, к картеру распределительных валов; 6 - Впускной шланг; 7 - Пружинный хомутик, для извлечения и установки следует применить клещи для пружинных хомутиков; 8 - Уплотнительное кольцо; 9 - Резиновая втулка; 10 - Нижняя деталь воздушного фильтра; 11 - Фильтрующий элемент.
