Оглавление: Снятие ⬇ Установка ⬇
Примечание. Тормозные колодки необходимо заменять с обеих сторон передней оси автомобиля.
Внимание. Не использовать тормозную жидкость, не рекомендованную заводом производителем. Также не использовать тормозную жидкость повторно после олива. Не использовать тормозную жидкость, хранившуюся долгое время в не герметичной таре, так как жидкость гигроскопична и может поглощать влагу из окружающего воздуха. Данное обстоятельство может привести к тому, что система гидропривода выйдет из строя при использовании такой жидкости.
Внимание. Всегда устанавливать новые тормозные колодки, причем замену необходимо производить с обеих сторон автомобиля одновременно, чтобы исключить увод автомобиль при торможении.
Внимание. Тормозная жидкость очень агрессивна к пластиковым и покрашенным деталям. Поэтому исключить попадание жидкости на лакокрасочное покрытие. В противном случае промыть место попадания большим количеством проточной воды.
Снятие
Примечание. На подлежащих дальнейшему использованию тормозных колодках при снятии сделать отметки. Они должны быть установлены на прежние места, иначе возможны различия в торможении разных колёс!
Примечание. Установочное положение задней многорычажной подвески.
1. Тормозной суппорт; В. Рычаг многорычажной подвески
Внимание. Не отсоединять разъемы жгутов электропроводки от механизма активации стояночного тормоза.
1. Снять задние колеса.
Внимание. Перед установкой поршней тормозного суппорта в исходное положение, необходимо откачать из расширительного бачка главного тормозного цилиндра излишек тормозной жидкости.
2. Используя специальное диагностическое оборудование, отвести поршней тормозного суппорта в исходное положение.
Внимание. Большая вероятность получения травмы при снятии стопорной пружины. Пружина может соскочить и попасть в глаза, поэтому при снятии ее необходимо надежно удерживать.
3. Используя отвертку (А), извлечь стопорную пружину (1) и отверстия (стрелка), как показано на рисунке ниже. Выполняя данную операцию, пружину необходимо удерживать одной рукой.

4. Снять защитные крышки (стрелки), показанные на рисунке ниже.

5. Выкрутить оба направляющих болта из тормозного суппорта, используя биту Т10503 на 7 мм и храповый ключ, как показано на рисунке ниже.

6. Снять тормозной суппорт в сборе (1) и подвесить, с помощью отрезка провода (А) так, чтобы исключить воздействие на тормозной шланг.
Внимание. Всегда после отсоединения тормозного суппорта хотя бы от одной из опор при подсоединенном тормозном шланге, необходимо подвешивать, использую отрезок провода. Исключить вывешивание суппорта на тормозном шланге, это может привести к повреждению шланга и появлению утечек тормозной жидкости.

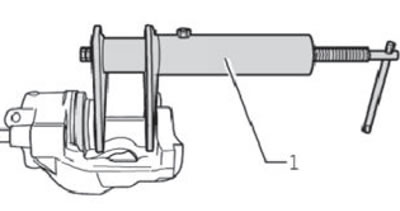
7. Используя специальное приспособление, установить поршень тормозного суппорта в исходное положение.

8. Снять тормозные колодки (2) и (3), показанные на рисунке ниже.

Очистка
Внимание. Тормозная пыль вредна, поэтому чистить тормозную систему сжатым воздухом запрещено.
1. Тщательно очистить от грязи и ржавчины все поверхности контакта тормозной скобы и суппорта с тормозными колодками.
2. Очистить суппорт тормозного механизма. Для чистки тормозного суппорта использовать только спирт.
(Материал доступен на веб-сайте: skodabook)
Установка
1. Установить внутреннюю тормозную колодку (2) и наружную тормозную колодку (3) в опорный кронштейн тормозного суппорта, как показано на рисунке ниже.

2. Установить тормозной суппорт на место и закрепить, затянув болт его крепления.

3. Установить на место крышки (стрелки), показанные на рисунке ниже.

4. Вставить стопорную пружину в отверстие в тормозном суппорте (стрелка), как показано на рисунке ниже.
Примечание. Проверить и убедиться в том, что пружина села должным образом.

Примечание. Используя специальное диагностическое оборудование, подвес.
