Замечание: Если были заменены компоненты с закреплёнными резиновыми втулками или были ослаблены болты/ гайки этих компонентов, перед затягиванием крепежа подвеску следует привести в разгруженное положение.
1. Резиновые втулки могут быть повёрнуты только на ограниченный размер. Следовательно, перед затягиванием крепежа, детали подвески с резиновыми втулками должны быть приведены в положение, соответствующее нормальному положению разгруженного автомобиля при движении. В противном случае втулки подвергаются кручению, и их срок службы снижается. Разгруженное положение при поднятом автомобиле достигается посредством подъёма соответствующей подвески трансмиссионным домкратом.
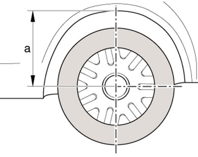
2. Перед началом работы при разгруженном автомобиле измерьте и запишите расстояние (а на иллюстрации) от центра колеса до верхнего края колёсной арки.
2.2. Расстояние от центра колеса до верхнего края колёсной арки
Замечание: Под разгруженным автомобилем подразумевается автомобиль с полным объёмом рабочих жидкостей и находящимися на месте бортовыми инструментами и запасным колесом, без водителя, пассажиров и груза.
3. Перед подъёмом деталей подвески закрепите автомобиль на лапах подъёмника ремнями, чтобы автомобиль не соскользнул (смотрите иллюстрацию).
2.3. Крепление задней подвески на лапе подъёмника
(Информация опубликована на сайте: SkodaBook.ru)
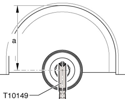
4. Снимите колесо, поверните ступицу колеса настолько, чтобы одно из отверстий для колёсных болтов находилось вверху, и при помощи колёсного болта подсоедините к ступице опору Т10149 трансмиссионного домкрата (смотрите иллюстрацию).
2.4. Разгруженное положение при поднятом автомобиле
5. Поднимите держатель ступицы (поворотный кулак передней подвески или рычаг задней подвески) на трансмиссионном домкрате настолько, чтобы расстояние (а на иллюстрации 2.4) соответствовало расстоянию (а на иллюстрации 2.2).
Замечание: Расстояние (а), соответствующее разным вариантам подвески, также указано в Спецификациях. Таким образом достигается разгруженное положение подвески. Затяните необходимый крепёж, опустите держатель ступицы, снимите опору Т10149 и уберите домкрат.
