Оглавление: Снятие и установка рукоятки с…⬇ Замена наконечника троса выбора…⬇ Снятие и установка рычага выбора паза ⬇ Замена наконечника троса выбора…⬇ Снятие и установка сборки рычага…⬇ Снятие и установка тросов ⬇ Разборка и сборка корпуса рычага…⬇ Проверка и регулировка тросов ⬇
1. Детали установки компонентов привода переключения передач указаны на иллюстрациях. Наносите на точки трения смазку G 000 450 02.
4.1а. Детали установки рукоятки и пыльника Стрелка Накладка, можно отделить от рукоятки 1 отвёрткой; 1. Рукоятка с пыльником, заменяются только вместе; 2. Накладка; 3. Рычаг переключения передач; 4. Центральная консоль
4.1b. Детали установки сборки рычага переключения передач 1. Опорная пластина с загибающимися лапками, подлежит замене; 2. Уплотнение, подлежит замене; 3. Рычаг переключения передач с направляющей, можно снять/установить без снятия направляющей 15; 4. Изолирующая шайба, вдавливается на рычаг до упора (стрелка); 5. Стопорная шайба, подлежит замене, при снятии не повредите тросы; 6. Трос выбора передачи; 7. Втулка троса 6; 8. Трос выбора паза; 9. Демпфер; 10. Шарнирное гнездо, при снятии повреждается, подлежит замене; 11, 14. Втулка; 12. Стопорная шайба; 13. Пружина; 15. Направляющая рычага 3; 16. Гайки, 4 шт., 8 Нм (Мб) или 25 Нм (М8); 17. Самоклеящееся уплотнение между корпусом 18 и днищем (приклеивается к корпусу 18); 18. Корпус рычага переключения передач, неразборный узел с пружиной сжатия и рычагом выбора паза
4.1с. Детали установки тросов РКПП "02Q" 1. Трос выбора передачи, соединяется с замком 15; 2. Трос выбора паза, соединяется с замком 10; 3. Корпус рычага переключения передач; 4. Стопорная шайба, подлежит замене, при снятии не повредите трос; 5. Болты держателя 6, 2 шт.; 6. Пластиковый держатель троса; 7. Втулки держателя 6; 8. Проставка; 9. Гайка держателя 6, 20 Нм; 10. Рычаг выбора паза с наконечником (стрелка) троса 2, из пластика, с отверстием диаметром 10 мм; 11. Скользящий башмак; 12. Фиксатор рычага на крышке блока переключения передач; 13. Рычаг выбора передач, с балансировочным грузом, вставляется так, чтобы отсутствующий зуб совпадал с валом селектора; 14. Гайка, 23 Нм, подлежит замене; 15. Наконечник троса 1, на рычаге 13, с отверстием диаметром 8.5 мм; 16. Стопорная шайба, подлежит замене
4.1d. Детали установки тросов РКПП "OAJ" 1. Трос выбора передачи, соединяется с наконечником 11; 2. Трос выбора паза, соединяется с наконечником 10; 3. Втулка троса 2; 4. Корпус рычага переключения передач; 5. Фиксатор троса, подлежит замене; 6. Болты крепления кронштейна 7, подлежат замене, 3 шт., 20 Нм; 7. Кронштейн тросов; 8. Прокладки, 3 шт.; 9. Втулки, 3 шт.; 10. Наконечник для крепления троса 2 на рычаге 13, не меняйте местами с наконечником 11; 11. Наконечник для крепления троса 1 на рычаге 16, не меняйте местами с наконечником 10; 12. Стопорная шайба, подлежит замене; 13. Рычаг выбора паза, снимается/ устанавливается вместе с наконечником 10; 14. Башмак; 15. Самоконтрящаяся гайка, 23 Нм, подлежит замене; 16. Рычаг выбора передачи
Снятие и установка рукоятки с пыльником
2. Аккуратно подденьте пыльник (А на иллюстрации) вместе с накладкой (В) из центральной консоли (С) в направлении стрелки при помощи клина Т30098. Выверните пыльник наизнанку через рукоятку.
4.2. Отделение пыльника от центральной консоли
3. Поверните стопорный механизм (1 на иллюстрации) на 45° в направлении стрелки и вытяните рукоятку с пыльником (2) с рычага (3).
4.3. Снятие рукоятки с пыльником
4. Для установки выверните пыльник (1 на иллюстрации), и вдавите рукоятку вместе с пыльником на рычаг (2) как можно дальше. Поверните стопорный механизм на 45° в направлении стрелки, чтобы поверхность (4) была обращена к одному из передних сидений. Выверните пыльник и зафиксируйте его вместе с накладкой в центральной консоли.
4.4. Установка рукоятки с пыльником
Замена наконечника троса выбора передач
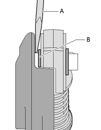
5. Снимите блокировку троса в наконечнике (А на иллюстрации). Для этого сдвиньте втулку до упора в направлении стрелки (1) и поверните втулку до упора в направлении стрелки (2) до слышимой фиксации.
4.5. Снятие фиксации троса выбора передачи в наконечнике
6. Снимите стопорную шайбу (1 на иллюстрации) троса с рычага (2) выбора передачи и стяните трос с оси (стрелка). Нанесите на ось немного смазки G 000 450 02 и закрепите на ней трос при помощи новой стопорной шайбы (1). В заключение отрегулируйте привод переключения передач (см. соответствующий подраздел ниже).
4.6. Снятие наконечника троса выбора передачи
Снятие и установка рычага выбора паза
7. Снимите блокировку троса в наконечнике. Для этого сдвиньте втулку до упора в направлении стрелки (1 на иллюстрации) и поверните втулку до упора в направлении стрелки (2) до слышимой фиксации.
4.7. Снятие фиксации троса выбора паза в наконечнике
Замечание: Чтобы не повредить трос, его наконечник должен быть отделён от троса перед снятием рычага выбора паза. Рычаг выбора передач должен находиться в нейтральном положении. Наконечник можно снимать/устанавливать только при снятом рычаге (см. подраздел ниже).
8. Если рычаг (А на иллюстрации) крепится на крышке держателем, аккуратно надавите на него до упора в направлении стрелки (1) и, двигая рычаг вперёд-назад в направлении стрелки (2), вытяните его вместе с наконечником (В) троса в направлении стрелки (3).
4.8. Снятие рычага выбора паза (вариант 1)
9. Если рычаг (С на иллюстрации) крепится на крышке фиксатором (А), отожмите этот фиксатор, и снимите рычаг вместе с наконечником (D) троса. Если снять трос не удаётся, может потребоваться снять консоль РКПП (Е).
4.9. Снятие рычага выбора паза (вариант 2)
10. Установка производится в обратной последовательности. Предварительно смажьте трущиеся поверхности смазкой G 000 450 02.
Замена наконечника троса выбора передач
11. Снимите рычаг выбора паза (см. подраздел выше), вставьте отвёртку (А на иллюстрации) между втулкой (В) и рычагом и выжмите наконечник.
4.11. Снятие наконечника троса выбора передачи
12. При снятом рычаге надвиньте наконечник на рычаг настолько, чтобы выскочил фиксатор (4 на иллюстрации 4.8). Наконечник должен заходить на рычаг свободно.
Снятие и установка сборки рычага переключения передач
Замечание: Описание приводится на примере моделей с РКПП "02Q".
13. Отсоедините отрицательный провод от батареи.
14. Снимите рукоятку и пыльник рычага переключения передач (см. параграфы 2-3).
15. Выверните винты (А на иллюстрации) и снимите пепельницу/вещевое отделение (В).
4.15. Крепёж пепельницы/вещевого отделения
16. Отдайте гайки крепления сборки рычага переключения передач (смотрите иллюстрацию).
4.16. Гайки крепления сборки рычага
17. Снимите воздухоочиститель (см. Главу 4).
18. Снимите стопорную шайбу (1 на иллюстрации 4.6) с рычага (2) и снимите трос выбора передач с оси (стрелка).
19. Снимите рычаг выбора передач (см. параграфы 7-9).
20. Отдайте крепёж (смотрите иллюстрацию) и снимите с РКПП держатель тросов. При наличии снимите звукоизоляцию под двигательным отсеком (см. Главу 11).
4.20. Крепёж держателя тросов
21. Снимите кожух днища слева и справа (смотрите иллюстрацию).
4.21. Крепёж кожуха днища
22. Снимите поперечину (1 на иллюстрации) центрального тоннеля. Отдайте крепёж двойного хомута (стрелки), отделите выпускную систему и снимите с держателя сборки. Подоприте переднюю выпускную трубу и отцепите задний глушитель (2) от подвесов.
4.22. Крепёж двойного хомута и поперечина центрального тоннеля
Замечание: Не перегибайте гибкую секцию выпускной трубы более, чем на 10°.
23. На моделях AWD снимите переднюю выпускную трубу (при необходимости, см. Главу 4), снимите заднюю часть выпускной системы. Затем снимите термозащитный экран (2 на иллюстрации) карданного вала и сам карданный вал (см. Главу 8).
4.23. Крепёж термозащитного экрана карданного вала
24. Снимите термозащитный экран под сборкой рычага селектора, наклоните сборку вниз и снимите её вместе с тросами. Далее описывается установка.
25. Выставьте сборку (2 на иллюстрации) рычага параллельно кузову (расстояние до кузова должно быть одинаковым на обеих сторонах) и затяните её крепёж. Проложите тросы (1) от сборки рычага к РКПП параллельно, без перекрещивания, через каналы в термозащитном экране (3).
4.25. Прокладывание тросов
26. Тросы и термозащитный экран удерживаются друг относительно друга фиксатором (А на иллюстрации).
4.26. Фиксатор тросов и термозащитного экрана
27. Нанесите на ось (стрелка на иллюстрации 4.6) немного смазки G000 450 02 и закрепите на ней трос при помощи новой стопорной шайбы (1).
28. Установите рычаг выбора паза (см. параграфы 7-10) и зафиксируйте трос в наконечнике.
29. На моделях AWD установите карданный вал (см. Главу 8) и его термозащитный экран.
30. Соберите выпускную систему, выставьте её без напряжения и установите поперечину центрального тоннеля (см. Часть В Главы 4).
31. Установите кожухи днища и звукоизоляцию под двигательным отсеком (см. Главу 11).
32. Установите пепельницу/вещевое отделение.
33. Отрегулируйте привод переключения передач (см. соответствующий подраздел ниже).
34. Установите пыльнике рукояткой рычага переключения передач (см. параграф 4).
35. Установите воздухоочиститель.
Снятие и установка тросов
36. Снимите сборку рычага переключения передач (см. подраздел выше), отогните отвёрткой лапки (смотрите иллюстрацию) и снимите крышку сборки рычага, а также её уплотнение.
4.36. Лапки крепления крышки
37. Снимите фиксаторов (1 и 2 на иллюстрации) и отожмите трос (3) выбора паза с угловой пластины (4), а также трос (5) с направляющей (6). Снимите тросы со сборки рычага переключения передач.
4.37. Тросы на сборке рычага
38. Снимите с тросов наконечники. Для этого сдвиньте втулку до упора в направлении стрелки (1 на иллюстрации 4.5) и поверните втулку до упора в направлении стрелки (2) до слышимой фиксации.
39. Снимите фиксаторы (1 и 2 на иллюстрации) и снимите с тросов опору.
4.39. Фиксаторы тросов
40. Установка производится в обратной последовательности. В заключение отрегулируйте привод переключения передач (см. соответствующий подраздел ниже).
Разборка и сборка корпуса рычага переключения передач
41. Снимите сборку рычага переключения передач и снимите с неё тросы (см. подраздел выше).
42. Поднимите верхний край (А на иллюстрации) пружины над лапками рычага выбора паза. Надавите отвёрткой на лапки (стрелки) шарнирного гнезда по направлению к шарниру направляющей рычага. При необходимости сломайте лапки шарнирного гнезда.
4.42. Подготовка к снятию шарнирного гнезда
43. Подденьте шарнирное гнездо (А на иллюстрации) вместе с направляющей рычага и рычагом (В) и отделите от сборки рычага переключения передач. Затем отожмите шарнирное гнездо от шарнира направляющей рычага и снимите его.
4.43. Снятие шарнирного гнезда
44. Переведите нижний край пружины на плечо на рычаге выбора паза в направлении стрелки (1 на иллюстрации) до упора. Потяните направляющую рычага вверх до упора и вытяните шарнирную шпильку из рычага в направлении стрелки (2). Обратите внимание на направляющие (А), - они не должны быть сломаны.
4.44. Снятие шарнира
45. Поверните направляющую рычага в направлении стрелки (1 на иллюстрации) и наклоните её вместе с рычагом в направлении стрелки (3). Шпилька (2) должна находиться в канавке в корпусе рычага переключения передач.
4.45. Снятие рычага
46. В ходе сборки нижний конец пружины (1 на иллюстрации 4.44) может соскочить с плеча рычага выбора паза. Поэтому следует аккуратно отжать пружину с плеча вниз. Концы пружины натягиваются по диагонали с громким шумом.
47. Ослабьте концы (А и В на иллюстрации) пружины, повернув их вправо, - они должны быть обращены в противоположные стороны.
4.47. Установочное положение пружины
48. Установите направляющую рычага вместе с рычагом в корпус рычага переключения передач. Поверните направляющую в направлении стрелки (2 на иллюстрации), чтобы шарнирная шпилька (А) располагалась над канавкой в корпусе рычага переключения передач. Шпилька (У) должна оставаться также в канавке в корпусе рычага переключения передач.
4.48. Установка направляющей рычага
49. Установите сборку рычага переключения передач с направляющей рычага в большее отверстие в приспособлении Т10083 (смотрите иллюстрацию). Замечание: При необходимости прежде всего снимите рычаг, чтобы его корпус с направляющей можно было вставить в приспособление. Направляющая рычага должна полностью выступать вверх из корпуса рычага переключения передач.
4.49. Приспособление Т10083
50. Вставьте конец (А на иллюстрации 4.47) пружины в направляющую сверху. Потяните край (В) пружины вниз и вставьте его рядом с направляющей (в направлении шарнирного соединения). Аккуратно снимите сборку рычага с приспособления Т10083.
51. Сместите рычаг выбора паза до упора назад, в направлении стрелки (1 на иллюстрации). Смажьте шарнирную шпильку смазкой G000 450 02 и вдавите её в рычаг выбора паза в направлении стрелки (2). Не повредите направляющие (А) и лапки (В).
4.51. Установка шарнирной шпильки
52. Снова установите сборку рычага переключения передач с направляющей рычага в большее отверстие в приспособлении Т10083 (см. иллюстрацию 4.49). Направляющая рычага должна полностью выступать вверх из корпуса рычага переключения передач.
53. Поднимите верхний край (А на иллюстрации) пружины над пальцем рычага выбора паза. Смажьте новое шарнирное гнездо (В) и шарнир направляющей. Вдавите шарнирное гнездо в шарнир до упора. Снимите сборку рычага с приспособления Т10083 и зафиксируйте шарнирное гнездо в корпусе рычага переключения передач в четырёх местах (стрелки). Вставьте нижний край (С) пружины в направляющую, поднимите верхний край (А) пружины над пальцем рычага выбора паза в направляющую.
4.53. Установка пружины
54. Подсоедините тросы и установите сборку рычага (см. подраздел выше).
Проверка и регулировка тросов
Замечание: Описание приводится на примере моделей с РКПП "02Q".
55. В нейтральном положении рычаг должен находиться в пазу между 3-й и 4-й передачами. Если при выборе передач с выжатой педалью сцепления имеются стабильные трудности, отрегулируйте тросы, как описано выше.
56. Перед регулировкой удостоверьтесь, что подвижные детали рабочих элементов и элементы, передающие усилие, исправны. Механизм селектора должен перемещаться свободно. РКПП, сцепление и привод сцепления также должны быть исправны.
57. Включите нейтральное положение.
58. Снимите воздухоочиститель (см. Главу 4).
59. Потяните втулки наконечников тросов до упора в направлении стрелок (1 на иллюстрации) и поверните влево в направлении стрелок (2), чтобы заблокировать.
4.59. Снятие фиксации тросов
60. Зафиксируйте вал селектора. Для этого надавите на него в направлении стрелки (1 на иллюстрации), одновременно поворачивая угловой шток (А) вверх (стрелка 3) и надавливая на него в направлении стрелки (2).
4.60. Фиксация вала селектора
61. Снимите пыльник рычага переключения передач (см. соответствующий подраздел выше) и зафиксируйте рычаг в нейтральном положении, вставив приспособление Т10027А через отверстие (А на иллюстрации) в отверстие (В).
4.61. Фиксация рычага
62. Поверните стопорные механизмы наконечников тросов в направлении против стрелок (2 на иллюстрации 4.59) до упора, - пружины отожмут стопорные механизмы в направлении против стрелок (1) в исходное положение.
63. Переместите угловой шток в исходное положение против стрелок (2 и 3 на иллюстрации 4.60), - вал селектора должен переместиться.
64. Снимите с рычага приспособление Т10027А и проверьте регулировку (см. параграф 39).
65. Установите детали рычага и воздухоочиститель.
