Оглавление: Снятие ⬇ Установка ⬇
Снятие
Снимите панель внутренней обивки двери (см. Раздел Снятие и установка панелей внутренней обивки дверей).
Стекло передней двери
1. Выверните крепежные винты, снимите шайбы, отсоедините внутреннюю ручку от исполнительного штока и снимите ее с двери.
2. Аккуратно отделите от двери верхний край изоляционной пленки с целью обеспечения доступа к механизму регулятора стеклоподъемника.
3. Опустите стекло таким образом, чтобы открылся доступ к болтам его крепления к регулятору через специальное окно в дверной раме.

4. Аккуратно высвободите нижнюю уплотнительную ленту из оконного проема и снимите ее с двери.
5. Выверните четыре болта крепления оконного стекла к регулятору стеклоподъемника, снимите шайбы, затем поднимите стекло вверх и извлеките его из двери.
![]() |
![]() |
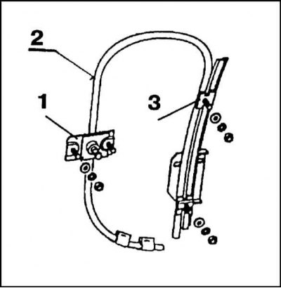
Механизм регулятора стеклоподъемника передней двери
1. Выполните процедуры, описанные в параграфах со 2 по 4.
1 - Оболочка; 2 - Ограничители перемещения стекла; 3 - Ручка привода стеклоподъемника
2. Компоненты механизма стеклоподъемника представлены на иллюстрации. Выверните четыре болта крепления стекла к регулятору стеклоподъемника, снимите шайбы, затем поднимите стекло в верхнее положение и подклейте его скотчем к дверной раме.
3. На моделях, оборудованных электроприводом стеклоподъемников, отпустите фиксатор и рассоедините разъем электропроводки приводного мотора.
4. На всех моделях отдайте гайки крепления сборки регулятора к дверной раме, снимите шайбы, затем аккуратно извлеките сборку через предусмотренное отверстие.
![]() |
![]() |
Стекло задней двери
1. Выверните винты крепления внутренней ручки замка, снимите шайбы, затем отсоедините ручку от исполнительного штока замка и снимите ее с двери.
2. Аккуратно отделите от дверной рамы верхний край изоляционной пленки с целью обеспечения доступа к механизму регулятора стеклоподъемника.

3. Полностью опустите стекло, затем высвободите из дверной рамы нижнюю уплотнительную ленту оконного проема.

4. Отдайте винты крепления к двери направляющего желоба к двери, затем извлеките из дверной рамы сборку желоба с фиксированным стеклом задней форточки.
![]() |
![]() |
5. Маркером обведите по периметру шайбы болтов крепления стекла к регулятору стеклоподъемника.
6. Выверните болты крепления стекла, снимите шайбы, затем поднимите стекло вверх и извлеките его из дверной рамы.
![]() |
![]() |
Механизм регулятора стеклоподъемника задней двери
1 - Место установки ручки; 2 - Оболочка; 3 - Направляющая
1. Компоненты механизма стеклоподъемника представлены на иллюстрации. Выполните процедуры, описанные в параграфах со 2 по 4.
2. Маркером обведите шайбы болтов крепления оконного стекла к регулятору стеклоподъемника.
3. Выверните болты крепления стекла к регулятору, снимите шайбы, затем поднимите стекло в верхнее положение и подклейте его скотчем к дверной раме.
4. Отдайте гайки крепления сборки регулятора к дверной раме, снимите шайбы, затем аккуратно извлеките сборку через предусмотренное отверстие.
![]() |
![]() |
Установка
Установка производится в обратном порядке. Обратите внимание на следующие моменты:
- a) Проследите за правильностью установки уплотнительных лент оконных проемов;
- b) При установке стекла проследите за правильностью посадки его в направляющих желобах. Прочно затяните болты крепления стекла к регулятору;
- c) Прежде чем устанавливать на место изоляционную пленку и панель внутренней обивки двери (см. Раздел Снятие и установка панелей внутренней обивки дверей), проверьте исправность функционирования стеклоподъемника. В случае необходимости незначительная регулировка может быть произведена путем ослабления крепежных болтов и корректировки положения стекла на регуляторе.










