Оглавление: Снятие и установка расширительного…⬇ Конденсатор ⬇ Замена картриджа осушителя ("Showa"…⬇ Замена картриджа осушителя…⬇ Испаритель ⬇
Замечание: Расположение деталей холодильной установки указано на иллюстрации 8.2. Описание замены датчика "G263" температуры испарителя приведено в Разделе 14.
Замечание: На моделях с конденсатором "Denso" ресивер с осушителем являются частью конденсатора и отдельно не заменяются. На моделях с деталями фирмы "Showa" и "Fujikoki" ресивер заменяется вместе с картриджем осушителя. На моделях с деталями "Modine" ресивер является деталью конденсатора, а осушитель может быть заменён отдельно от них. Замена ресивера-осушителя требуется только после того, как: был заклинен компрессор, контур хладагента был открыт на неопределённое время (например, при длительной окраске) или был прокачан контур охлаждающей жидкости.
1. При наличии крышки (3 на иллюстрации) расширительного клапана для её снятия отсоедините линии ОЖ от радиатора отопителя, отдайте гайку (1) и извлеките фиксаторы (2). При установке затягивайте гайку с усилием 6 Нм.
18.1. Детали установки расширительного клапана
Снятие и установка расширительного клапана
2. На некоторых двигателях для облегчения доступа к расширительному клапану может потребоваться снять верхнюю крышку двигателя (см. Главу 2), впускной шланг турбокомпрессора, крышку сажевого фильтра и впускной шланг воздухоочистителя (см. Главу 4).
3. Спустите хладагент.
4. При наличии снимите крышку расширительного клапана (см. параграф 1).
5. Выверните болты (1 на иллюстрации) и отделите от расширительного клапана линии хладагента (2).
18.5. Детали установки расширительного клапана 1. Болты, 12 Нм; 2. Линии хладагента на расширительном клапане; 3, 5, 7, 8. Уплотнительное кольцо; 4. Расширительный клапан; 6. Термоизоляция; 9. Болты, 5 Нм; 10. Соединения испарителя
Выверните болты (9) и снимите расширительный клапан с термоизоляции (6). При установке используйте новые уплотнительные кольца линий хладагента.
Конденсатор
6. Спустите хладагент из холодильной установки.
7. Снимите держатель замка капота (см. Главу 11).
8. Отсоедините от конденсатора линии хладагента (см. иллюстрацию 8.2) и закупорьте их.
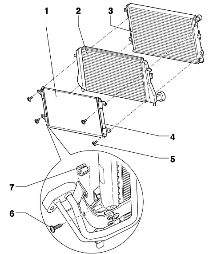
9. Выверните 4 болта и снимите с радиатора конденсатор (1 на иллюстрации).
18.9. Детали установки конденсатора и ресивера-осушителя 1. Конденсатор; 2. Интеркулер; 3. Радиатор; 4. Ресивер-осушитель; 5. Болты, 4 шт., 5 Нм; 6. Болт, 5 Нм; 7. Опора, на некоторых моделях
10. Установка производится в обратной последовательности.
Замена картриджа осушителя ("Showa" и "Fujikoki")
11. Спустите хладагент из холодильной установки.
12. Снимите держатель замка капота (см. Главу 11).
13. Не отсоединяя шланги ОЖ, закрепите конденсатор проволокой.
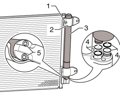
14. Выверните болт (1 на иллюстрации) и снимите хомут (2). Затем выверните болты (5) и вытяните ресивер с осушителем (3) вверх.
18.14. Замена картриджа осушителя ("Showa" и "Fujikoki")
15. Установка производится в обратной последовательности. Используйте новые уплотнительные кольца (1 на иллюстрации 18.14). Сначала затягивайте болты (5), а затем - болт (1) с усилием 5 Нм.
Замена картриджа осушителя (конденсатор "Modine")
Замечание: Замена картриджа не требуется каждый раз после разгерметизации контура хладагента на короткое время, если возраст автомобиля составляет не более 5 лет.
16. Снимите накладку переднего бампера (см. Главу 11).
17. Извлеките заглушку (1 на иллюстрации) и спустите хладагент из холодильной установки.
18.17. Заглушка картриджа
18. Вдавите уплотнительную крышку (1 на иллюстрации) в ресивер, снимите стопорное кольцо (стрелка) и вытяните уплотнительную крышку из конденсатора (2) при помощи болта М12.
18.18. Уплотнительная крышка (1)
19. Извлеките мешок осушителя из конденсатора при помощи подходящего приспособления (смотрите иллюстрацию).
18.19. Извлечение мешка осушителя
20. Изогните конец 2-милиметрового сварочного электрода длиной 380 мм в виде крюка диаметром 6 мм (1 на иллюстрации) и извлеките картридж (2) из конденсатора.
18.20. Снятие картриджа испарителя (2) при помощи изогнутого электрода (1)
21. Вставьте в конденсатор новый картридж, а затем введите в конденсатор мешок осушителя.
22. Дальнейшая установка производится в обратной последовательности.
Испаритель
23. Снимите корпус климатической системы из разберите его, извлекая испаритель из его нижнего кожуха (см. Раздел 15).
24. Перед установкой испарителя проверьте проходимость дренажного шланга и, при необходимости, очистите его.
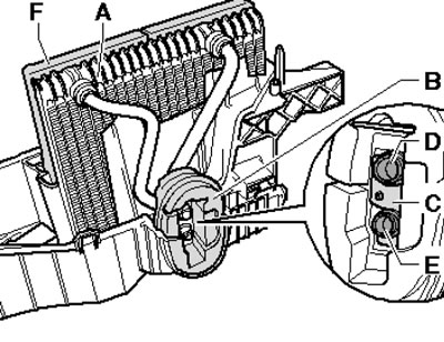
25. Удостоверьтесь, что уплотнение (F на иллюстрации) надето по всему периметру. Наденьте на соединения (D и Е) держатель (С) с уплотнением (В) и вставьте испаритель (А) в его нижний кожух, как указано на иллюстрации. При этом, а также при установке верхнего кожуха, следите за тем, чтобы не повредить уплотнение (F). После соединения кожухов проверьте правильность положения кожухов.
18.25. Детали уплотнения испарителя
