Проверка
1. Для проверки исправности функционирования вакуумного усилителя тормозов несколько раз выжмите педаль ножного тормоза для сброса разрежения, затем, удерживая педаль нажатой, запустите двигатель. Почти сразу после запуска двигателя, как только во впускном трубопроводе создастся необходимое разрежение, педаль должна заметно "провалиться". Дайте двигателю поработать на холостых оборотах по крайней мере в течение двух минут, затем заглушите его. Теперь с каждым следующим нажатием педаль должна подаваться все туже и туже с одновременным сокращением хода.
2. Если вакуумный усилитель не обеспечивает описанный выше режим функционирования, в первую очередь следует проверить состояние его контрольного клапана (см. Раздел Снятие, проверка состояния и установка контрольного клапана вакуумного усилителя тормозов со шлангом).
3. Если контрольный клапан в порядке, следовательно имеет место внутренний дефект сервопривода. Восстановительный ремонт вышедшего из строя вакуумного усилителя не представляется возможным, а потому неисправный блок подлежит замене.
Снятие
Примечание. При сборке потребуются новые гайки крепления блока сервопривода.
1. Снимите ГТЦ (см. Раздел Снятие, капитальный ремонт и установка главного тормозного цилиндра (ГТЦ)). На моделях с ABS отведите гидравлический модулятор в сторону от блока сервопривода и закрепите его там, стараясь не подвергать перегрузкам трубки тормозных линий.
2. Аккуратно высвободите вакуумный шланг из уплотнительной проходной втулки сервопривода. Проверьте состояние втулки, дефектную замените.
3. На моделях с правосторонним рулевым управлением, работая в пассажирском ножном колодце, извлеките фиксатор и снимите отделочную крышку с левого кронштейна педальной сборки.
Примечание. Для отпускания фиксатора извлеките наружу его центральную часть. Теперь отпустите фиксаторы коврового покрытия и отогните край последнего, обеспечив доступ к нижним гайкам крепления кронштейна педалей. Отдайте гайки крепления левого кронштейна. В двигательном отсеке снимите с переборки крепежную пластину.
4. На всех моделях снимите фиксатор и высвободите из педали ножного тормоза/оси педали наконечника крепления штока толкателя сервопривода вакуумного усилителя тормозов.

5. Отдайте гайки крепления блока сервопривода, снимите шайбы, затем высвободите резиновый защитный чехол с пенопластовой крышкой (если таковая предусмотрена) из задней части блока.
Примечание. При сборке гайки подлежат замене в обязательном порядке.
6. Вернитесь в двигательный отсек и снимите блок сервопривода вакуумного усилителя тормозов со свое места на переборке. Вместе с блоком снимите прокладку. Проверьте состояние прокладки, в случае выявления дефектов произведите замену. Вышедший из строя усилитель восстановительному ремонту не подлежит и также должен быть заменен.
Установка

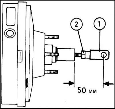
1. Перед установкой блока удостоверьтесь в правильности длины выступания штока толкателя его поршня, в случае необходимости подкорректируйте соответствующим образом положение на штоке крепежного наконечника. Закончив корректировку не забудьте затянуть контргайку.
2. Тщательно зачистите все сопрягаемые поверхности, затем установите на заднюю часть блока сервопривода новую уплотнительную прокладку. Заведите блок на свое штатное место на переборке двигательного отсека.
3. Из салона автомобиля установите на заднюю часть блока пенопластовую уплотнительную крышку, либо защитный чехол, затем правильным образом подсоедините шток толкателя к тормозной педали/оси педали.
4. Установите шайбы, наверните новые гайки крепления блока и затяните их с требуемым усилием.
5. Выровняйте наконечник штока по отношению к педали и закрепите его фиксатором.
6. На моделях с правосторонним рулевым управлением попросите помощника подержать нижнюю крепежную пластину и наверните гайки крепления кронштейна педальной сборки, прочно затянув их. Расправьте ковровое покрытие и закрепите его край фиксаторами.
7. В двигательном отсеке проверьте надежность посадки в блоке уплотнительной проходной втулки, затем проденьте в нее вакуумный шланг.
8. Установите на место ГТЦ (см. Раздел Снятие, капитальный ремонт и установка главного тормозного цилиндра (ГТЦ)).
9. В заключение проверьте исправность функционирования тормозной системы.
